空気の膨張

図1〜図3の装置のア〜キの部分には空気が入っています。また容器や管 の温度による容積、長さの変化は考えないものとし、いずれの容器、管のかべも熱を通さないものとして、次の問いに答えなさい。

(1) 図1のように容積の同じア、イを細い管でつなぎ、その中央に色 のついた液体を少量入れました。この液体が右の方に移動するのはつぎのA~Fのどの場合ですか。あてはまるものをすべて選び、記 号で答えなさい。

A. アの部分をあたためる

B. イの部分をあたためる。

C. アの部分を冷やす。

D. イの部分を冷やす。

E. アとイの部分を同時に同じようにあたためる。

F. アとイの部分を同時に同じように冷やす。

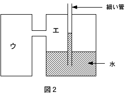
(2) 図2の細い管の中の水面が上がるのはどの場合ですか。またどち らともいえないのはどの場合ですか。次のA〜Hからそれぞれあてはまるものをすべて選び、記号で答えなさい。

A. ウの部分をあたためる。

B. エの部分をあたためる。

C. ウの部分を冷やす。

D. エの部分を冷やす。

E. ウとエの部分をあたためる。

F. ウとエの部分を冷やす。

G. ウの部分を冷や し、エの部分をあたためる。

H. ウの部分をあたため、エの部分を冷やす。

(3) 図3のように、一方のはしが閉じている細い管が固定されています。管内の水面が下がるの はどの場合ですか。またどちらともいえないのはどの場合ですか。次のA〜Iからそれぞれあてはまるものをすべて選び、記号で答え なさい。

A. オの部分をあたためる。

B. カの部分をあたためる。

C. キの部分をあたためる。

D. オの部分を冷やす。

E. キの部分を冷やす。

F. オとキの部分を同時にあたためる。

G. カの部分を冷やし、キの部分をあたためる。

H. オとキの部分を同時に冷やす。

I. オとカの部分をあたため、キの部分を冷やす。

(親和中)


解説

(1) 空気はあたためると膨張し、 冷やすと収縮します。アの空気の体積が大きくなるか、またはイの空気の体積が小さくなれば、色のついた液体は右に移動します。

答え A,D

(2) 容器の中の空気があたためられて体積が大きくなれば、容器のなかの水面が押されてその結 果、細い管の中の水面が上がります。

答え 上がる・・・A,B,E  どちらともいえない・・・G,H

(3) 細い管の中の空気をあたためればその体積が大きくなり、管内の 水面は下がります。逆に容器の中の空気を冷やせばその体積は収縮し容器内の水面が上昇し、その結果管内の水面が下がります。

答え 下がる・・・C,D,G どちらともいえない・・・F,H

考察

空気などの気体は温度変化によって、 その体積が変わりますが、水は温度変化によってほとんど体積が変わりません。温度が高くなると体積が増え、低くなると体積が減り ます。

理科定理集の ページへ