てこ              中 学受験プロ家庭教師のページへ


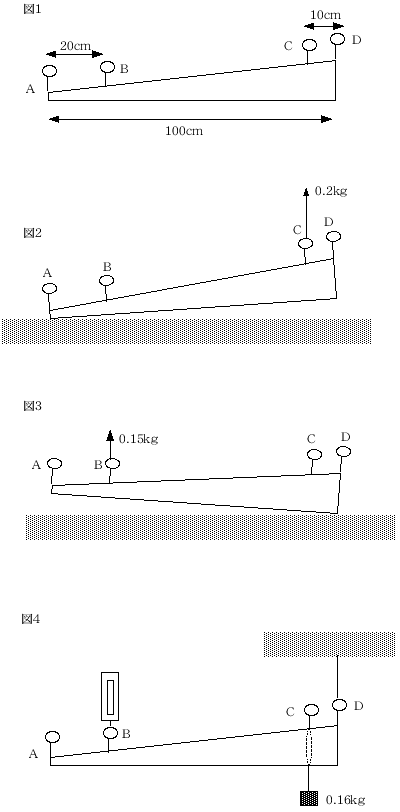
  図1のような長さ100cmで太さが一様でない棒ADがあり、点Aの右20cmの点をBとし、点Dの左10cmの点をCとし ます。点A、B、C、Dには フックがついていて、図2のように点Aを床にのせて点Cを上に引っぱって少し持ち上げるとき、0.2kg力が必要でした。次 に図3のように点Dを床にのせ て点Bを上へ引っぱって少し持ち上げるとき、0.15kgの力が必要でした。これについて、次の問いに答えなさい。 (甲陽学院中)



(1) 図2で、点Cのかわりに点Dを持ち上げるには何kgの力 が必要ですか。




(2) この棒の重さは何kgありますか。




(3) この棒の重心の位置は、点Aから何cmのところにありま すか。ただし、重心とは、もの の重さが1点にはたらくと考えられる点のことです。




(4) 図4のように、点Dを糸で天井からつるし、点Cには 0.16kgのおもりをかけます。 点Bにばねばかりをつけて、この棒を水平に支えるとき、ばねばかりの目盛りは何kgを示しますか。


解説

(1) 図2でAを支点とした ときのモーメントのつりあい は、棒の重心をGとすると、

0.2kg×90cm=棒の重 さ×AGの長さ となるが、必 要な左回りのモーメントは、点Cを持ち上げるときも、点Dを持ち上げるときも変わらないので、点Dを□kgで持ち上げるとす ると、

0.2kg×90cm=□kg×100cm     よって  □=0.18kg   

 答 え 0.18kg



(2) 図3で、同様にして、点Bのかわりに点Aを□kgで持ち上げる とすると、

0.15kg×80cm=□kg×100cm   よって □ =0.12kg

ここで、棒の両端を持ち上げた力の和が棒の重さに 等しいので、

0.18kg+0.12kg=0.3kg                    

 答 え 0.3kg



(3) Aから□cmに重心があるとすると、

0.2kg×90cm=0.3kg×□cm   よって、□= 60cm      

答え 60cm



(4) Dを支点とすると、 0.3kg×(100−60)cm+0.16kg×10cm=□kg×80cm

よって、□=0.17kg                        

答え 0.17kg


考察

棒の両端を持ち上げた力の和が 棒の重さに等しいについては、数学的な計算が必要ですが、次のように説明できます。AやDで上に持ち上げる 力をそれぞれAkg,Bkg、重心Gにかかる力をGkg,とすると、図3と図2で、それぞれ、A×100G×40  D×100G×60 となり、等式の左側どうしをたし、右側 どうしをたし、それらは等しいので、=で結ぶと、

(A+D)×100G×100  すなわち、A+D=G が成り立ちます。